功能更新如下:
-
生成凭证设置:增加进销存生成凭证设置,支持凭证生成日期、存货辅助核算匹配、生成凭证方式等设置。
-
凭证模板设置:增加根据业务类型设置不同的凭证模板。
-
业务单据生成凭证:增加日期、业务类别、是否生成凭证、是否开票以及单据编号、往来单位等进行筛选。
-
自动生成凭证:增加自动生成凭证设置,自动生成凭证。
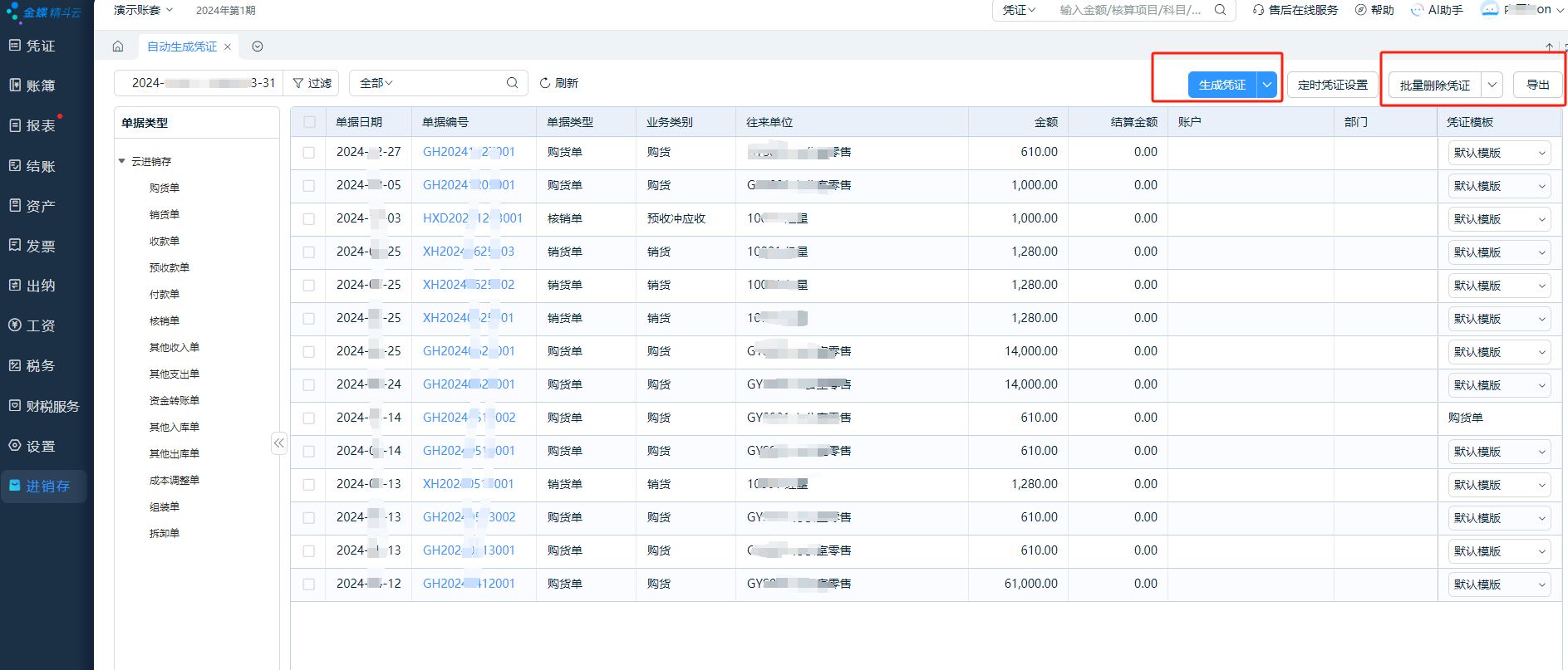
1、进销存生成凭证设置
在云会计系统中,点击【进销存】-【自动生成凭证】,进入自动生成凭证界面。
在自动生成凭证界面,点击【生成凭证】下方的【进销存生成凭证设置】,可以对相关参数进行设置。
在“进销存生成凭证设置”界面可以对凭证生成日期、存货辅助核算匹配规则、其他辅助核算匹配规则、凭证生成方式等进行设置。
①凭证生成日期
• 单据日期:与进销存单据一致
• 会计期间:与会计期间保持一致
②存货辅助核算匹配规则:建议使用编码一致匹配
• 名称一致
• 编码一致
• 名称+规格一致
③其他辅助核算匹配规则:建议使用编码一致匹配
• 名称一致
• 编码一致
• 无匹配项自动新增辅助核算
④凭证生成方式:
• 每张单生成一张凭证/按单据类型汇总生成凭证
• 按单据类型+日期汇总生成凭证
• 按单据类型+客商汇总生成凭证
⑤进销单据与凭证修改参数设置:为保持进销存与会计数据一致,建议设置为【不允许】修改
• 每张单生成的进销存凭证允许修改:不允许/允许
• 生成凭证后原单据允许修改:不允许/允许
2、根据业务类型设置不同的凭证模板
在云会计系统中,点击【进销存】-【业务凭证模板】,进入界面可以根据业务类型设置不同的凭证模板。
3、生成进销存凭证
在会计系统中点击【进销存】-【自动生成凭证】(或者【凭证】-【自动生成凭证】),进入到自动生成凭证界面,
查询需生成凭证的业务单据,可通过系统过滤条件筛选相关单据,在对单据筛选条件支持按照日期、业务类别、是否生成凭证、是否开票以及单据编号、往来单位等进行筛选。

筛选出相关单据,点击【生成凭证】可以一键生成凭证,同时,对已经生成的凭证支持批量删除凭证/暂存凭证与导出。
4、定时凭证设置
在自动生成凭证页面,找到【定时凭证设置】按钮,可开启系统自动生成凭证功能,凭证生成时间如选择为“实时”,则可在进销存单据同步到云会计时自动生成凭证,无需手动生成。(“定时”自定义时间功能暂未开放,后期规划)
特别注意:若您的产品还未出现此更新,请通过产品右上角【售后在线服务】咨询,申请更新。

