金蝶账无忧V6.0如何对客户分类
服务热线:400-665-0027
新购有特价、金蝶老客户升级金蝶云产品可以享受5折优惠,送手机、送话费,好礼不断!
【操作步骤】
可通过添加标记的功能给您的客户进行分类或设置标签,便于查找与管理,操作步骤如下:
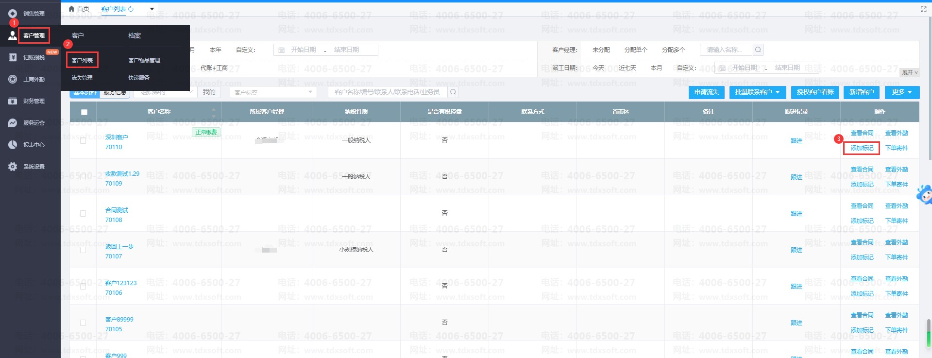
1. 点开【客户管理】→【客户列表】→点击客户右边的【添加标记】按钮
2. 在客户界面就可以选中标签,点击确定就可以给客户添加标记进行分类了
3. 保存成功后,公司名称右边就会有绿色的标签标识,如图所示
温馨提示:如果没有标签组,可按下面步骤新增
新增客户分类的标签组和组下分类:
1. 新增标签组:点击【添加标记】→【新增组】,录入标签组名称,保存即可
2. 新增标签明细:选择对应的标签组,点击后面的加号,录入标签明细,保存即可

