账无忧资产负债表上的往来科目为负数怎么办
服务热线:400-665-0027
新购有特价、金蝶老客户升级金蝶云产品可以享受5折优惠,送手机、送话费,好礼不断!
【问题现象】
资产负债表上的往来科目为负数,该如何处理
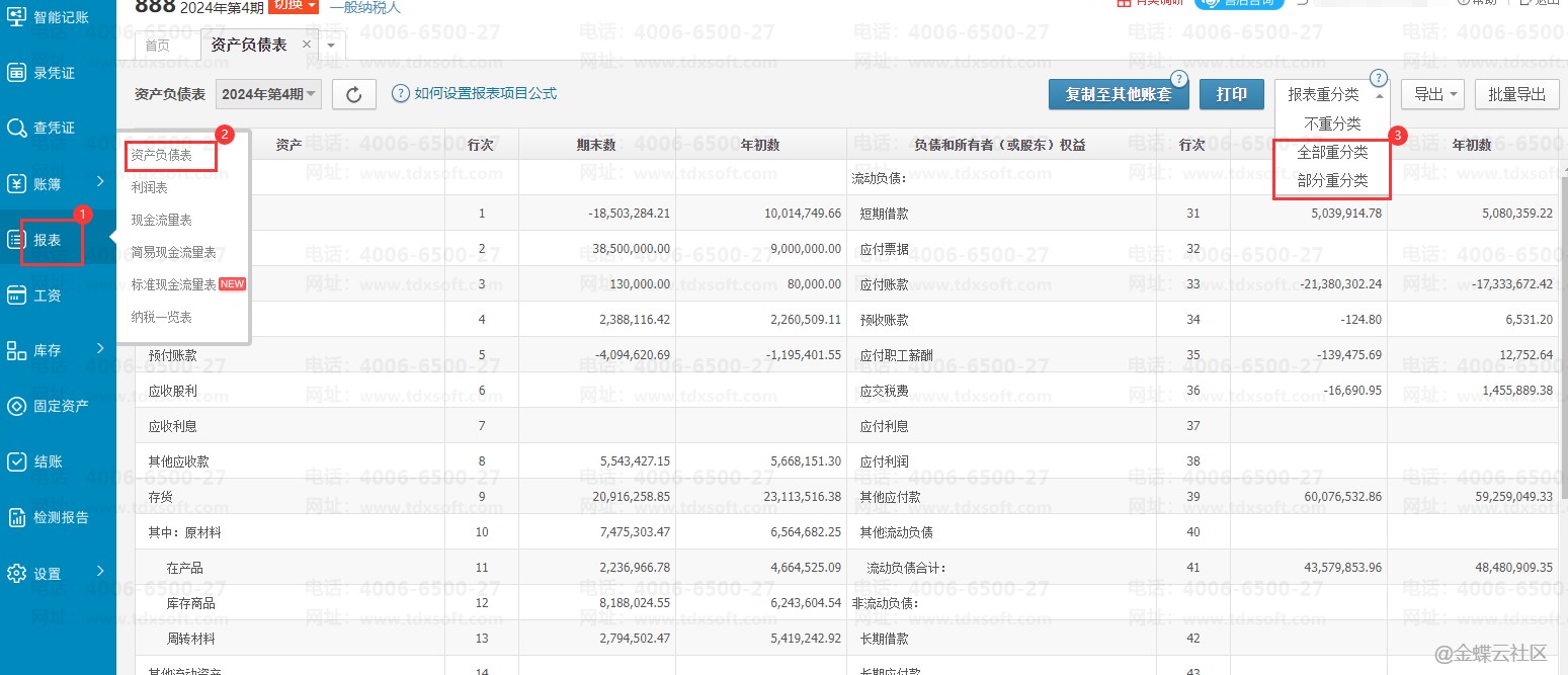
【操作流程】
进入【资产负债表】界面后点击右上角图示的全部重分类或部分重分类即可。

400-665-0027
【问题现象】
资产负债表上的往来科目为负数,该如何处理
【操作流程】
进入【资产负债表】界面后点击右上角图示的全部重分类或部分重分类即可。