V6.0版本账无忧如何批量清除账套里面已指定的票据凭证模板
服务热线:400-665-0027
新购有特价、金蝶老客户升级金蝶云产品可以享受5折优惠,送手机、送话费,好礼不断!
【操作流程】
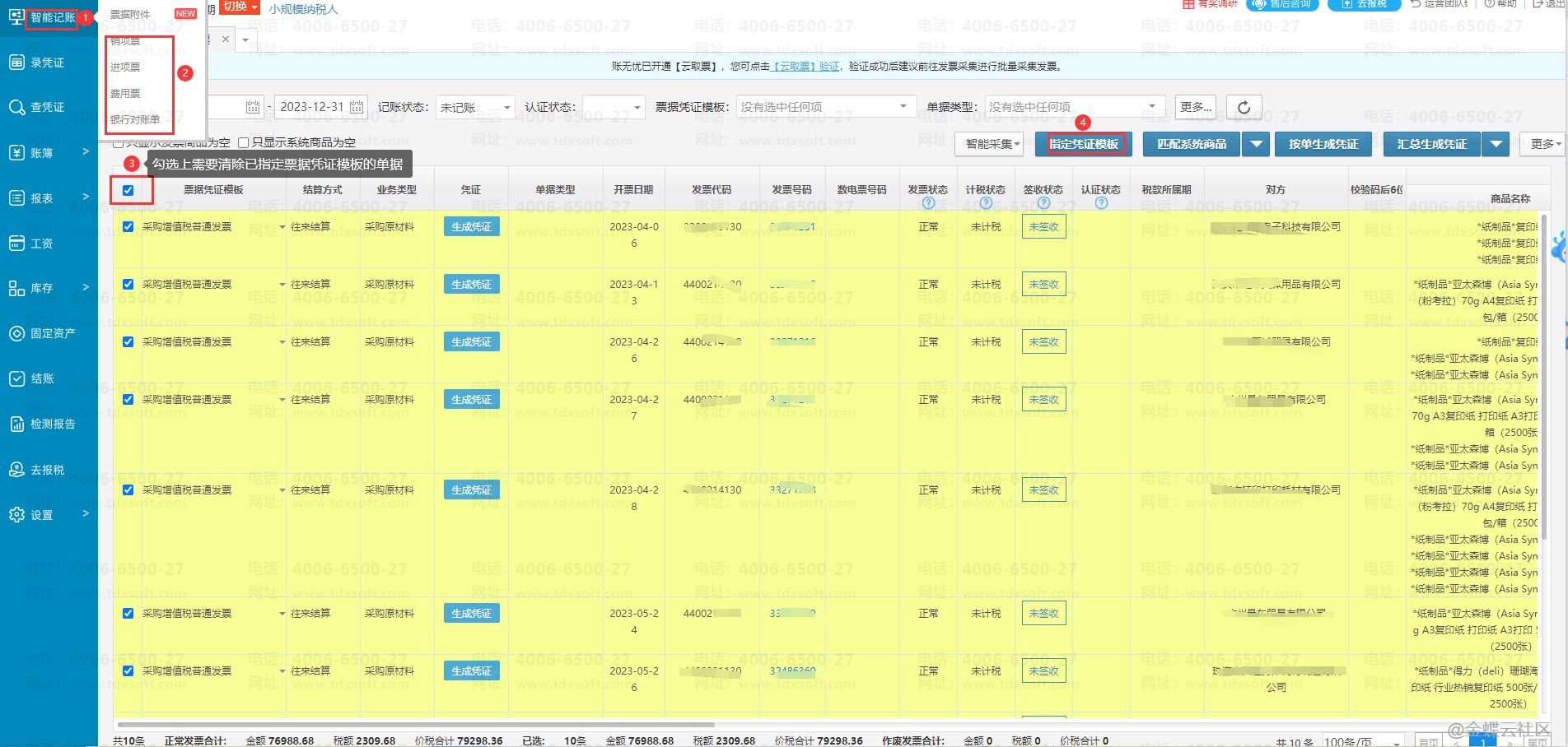
进入账套后点击【智能记账】→【进项票】/[销项票】/[费用票】/[银行对账单】进入界面后,可以勾选上已指定的票据凭证模板单据后点击右上角的【指定票据凭证模板】按钮后再点击一下【清除已指定模板】的按钮操作一下即可。

