【操作前说明】
需要先将客户提供的费用发票分类整理(人工进行)
【操作步骤】
一、录入整理完成的费用票据金额等数据
方式一:单个填写
进账簿后,点击【智能记账】→【费用票】,进入费用票界面后,根据业务类型将不同的费用对方名称、金额和税额填写到对应的行中,再点击【保存】按钮后提示保存成功即可。
比如本月现金购买办公用品费支付给深圳晨光公司500元,那就在业务类型为办公用品的行上填写好金额500(对方名称可填可不填)后点击保存即可。
方式二:批量填写
若之前有做费用表格,想通过导入表格生成费用凭证的,点击【导入】按钮,在弹窗中点击【费用票导入模板】下载好导入模板后,在表格中填写好对应的票据凭证模板和金额后保存表格。
再点击弹窗中的【选择】按钮,选择填写好的表格,点击弹窗中的【导入】按钮,提示“导入成功”即可看到导入的数据。
注:导入会覆盖掉本月原来已在界面上填写的未生成凭证的数据。
二、指定票据凭证模板
方式一:单个指定
在费用票界面票据凭证模板显示空白或者需要修改已选择了票据凭证模板的发票,可点击票据凭证模板的倒三角按钮,选择对应的凭证模板后点击【保存】按钮即可。
方式二:批量指定
勾选需要设置同一票据凭证模板的费用票,点击右上角【指定凭证模板】,选择对应模板后,点击【保存】按钮即可。
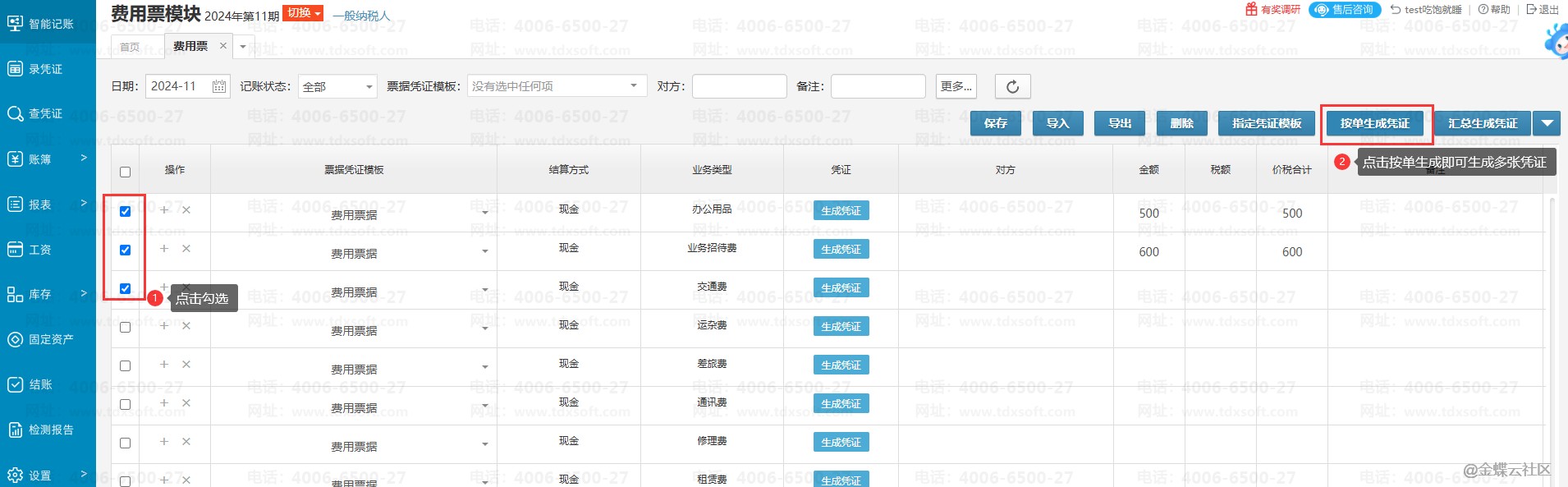
三、生成凭证
方法一:按单生成
在凭证列下点击【生成凭证】按钮,这张费用票数据即可生成凭证;或者勾选多张需要生成凭证的费用票,点击【按单生成凭证】按钮,勾选的发票数据即可生成多张凭证。
方法二:汇总生成
勾选需要生成凭证的费用票,点击右上方【汇总生成凭证】后面的倒三角符号,弹出选项界面,选择需要汇总生成的对应选项,点击确认,然后再点击【汇总生成凭证】按钮即可生成凭证。

