服务热线:

400-665-0027

知识资讯
联系我们

电话:400-665-0027


您当前位置:首页 > 知识资讯  > 知识学习 > 正文知识学习
精斗云云进销存如何盘点(线上实时盘点)
服务热线:400-665-0027 新购有特价、金蝶老客户升级金蝶云产品可以享受5折优惠,送手机、送话费,好礼不断!

【问题描述】

如何盘点(线上实时盘点)?


【解释说明】

库存盘点是对仓库中的实物库存进行清点,并与系统库存记录进行对比,以更正系统记录的过程。如盘点的商品数目比较多,可通过导入的方式进行盘点库存。盘点不是必须的,若实际库存和系统库存一致就不用盘点。

注意:盘点表前,请先维护好仓库、商品。在盘点界面不支持新增仓库与商品,系统中不存在的仓库及商品将无法成功导入。

若盘点的商品品种较多,可通过导入盘点表批量操作:导入盘点表批量盘点


【操作流程】

1、首先,依次点击打开【仓库】-【盘点】界面。

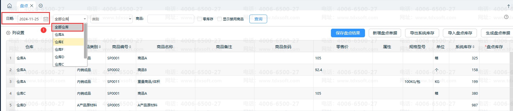
2、然后,在盘点界面选择需要盘点的日期和仓库:

①若需要盘点所有仓库则选择全部仓库

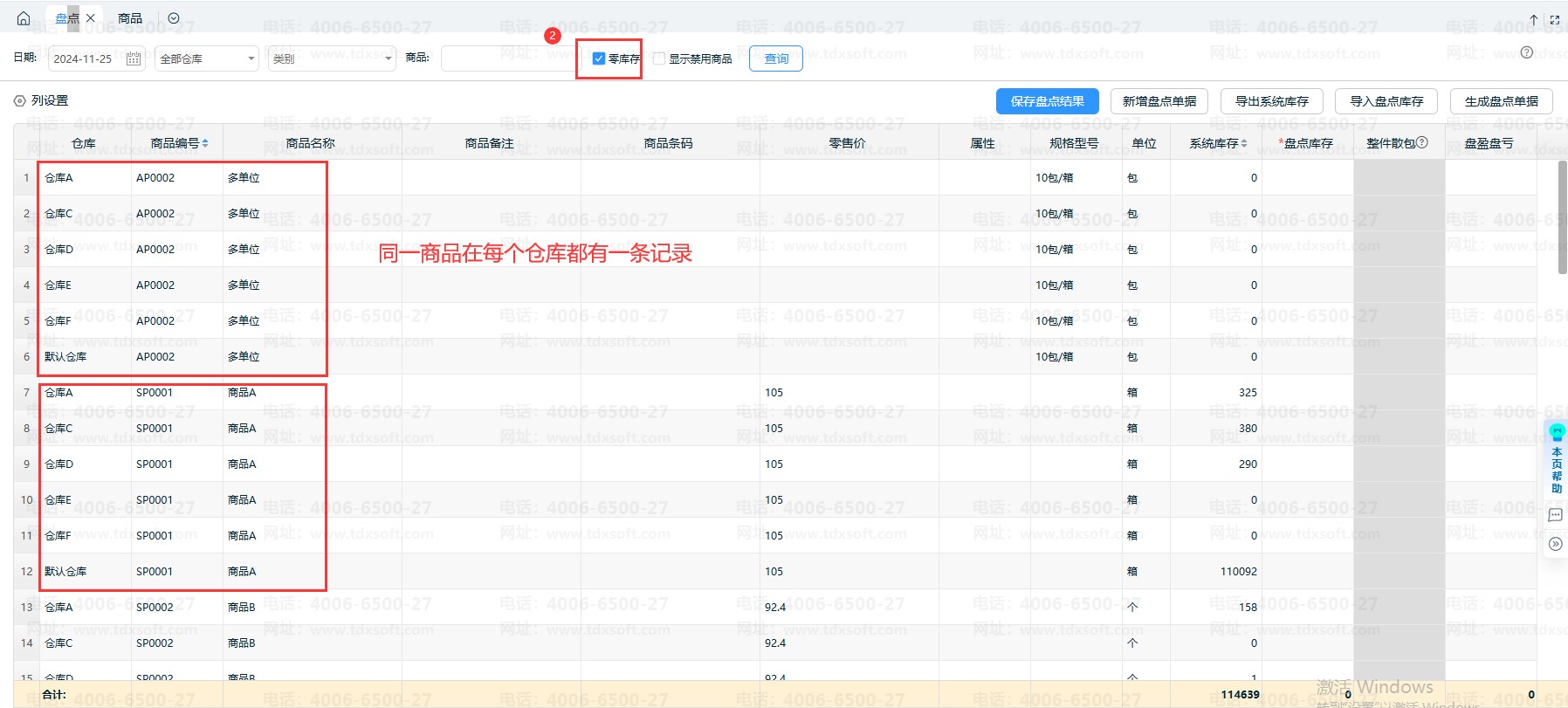
②若要盘点所有商品,则选择【所有仓库】并勾选【零库存】则每个仓库都会显示一条对应的商品信息。


3、在盘点列表中输入“盘点库存”数量,系统根据盘点库存和系统库存自动会计算盘盈盘亏数。

①系统库存:截止盘点日期,进销存系统中所选仓库的库存结存数量。

②盘点库存:指仓库实物的实际库存数量;填写实际盘点数量后,系统将结合系统库存自动计算盘盈盘亏,并据此调整系统库存至与实物一致。

说明:若是对系统库存数量有疑问,可通过商品收发明细表核查《如何查询商品收发明细表?


4、盘点库存录入完成后点击右上角“生成盘点单据”,系统会提示生成“盘盈单”及“盘亏单”。


5、点击“盘盈单”则系统会生成盘盈的其他入库单,保存/审核,即可完成盘盈。

最后,再点击“盘亏单”则系统会生成盘亏类型的其他出库单,保存/审核盘亏单后即可完成盘点。

【注意事项】

1、禁用商品支持在盘点页面查看,表头勾选【显示禁用】商品即可,但不支持生成盘点单据,需要取消禁用才可以。

2、目前系统不支持批次商品盘点,可参考以下变通方案处理:批次商品盘点

3、序列号商品盘点可按以下步骤:序列号商品盘点

4、说明:若需要实现扫码盘点库存,可通过精斗云app操作,目前网页端暂不支持扫码盘点。