服务热线:

400-665-0027

知识资讯
联系我们

电话:400-665-0027


您当前位置:首页 > 知识资讯  > 知识学习 > 正文知识学习
精斗云云进销存订单合并出入库操作指南
服务热线:400-665-0027 新购有特价、金蝶老客户升级金蝶云产品可以享受5折优惠,送手机、送话费,好礼不断!

1、应用场景

  • 同一个商家下了多个订单,需要一起验收和发货

  • 订单中的商品交货日期不一样,需要按照交货日期优先出入库,分批发货

  • 订单中只有部分商品有库存,有库存的商品先发货和验收


2、主要操作

2.1 销售单据支持订单合并

1) 销货单增加选择订单功能,支持选择多单合并出库或部分商品出库

点击【选择订单】,默认按单据显示,选择需要合并出库的单据

多张订单的商品合并带出,支持删除部分商品分批出库,大大提升效率

支持多种不同条件筛选,购物车模式选择订单和商品,简单又高效


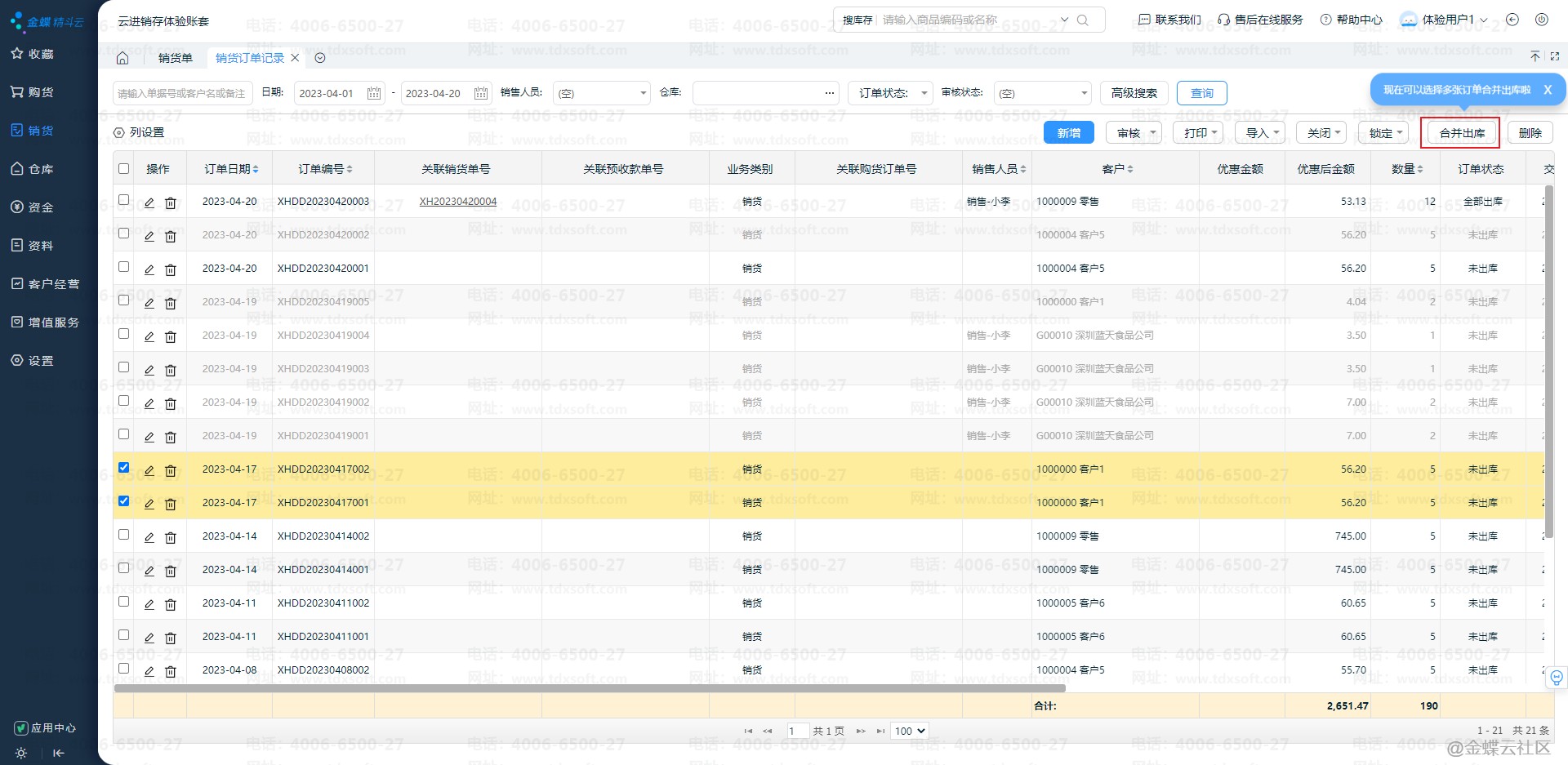
2)销货订单记录增加合并出库功能,支持选择多张订单一起出库

选择相同客户的销货订单,点击【合并出库】

多张销货订单,关联了同一张出库单


2.2 采购单据支持订单合并

1)购货单增加选择订单功能,支持选择多单合并入库或者部分商品入库

点击【选择订单】,默认按单据显示,选择需要合并入库的单据

与销货单逻辑一样,支持多张订单合并,支持删除部分商品分批入库


2)购货订单记录增加合并入库功能,支持选择多张订单一起入库