服务热线:

400-665-0027

知识资讯
联系我们

电话:400-665-0027


您当前位置:首页 > 知识资讯  > 知识学习 > 正文知识学习
精斗云云进销存订单锁定与解锁是什么意思
服务热线:400-665-0027 新购有特价、金蝶老客户升级金蝶云产品可以享受5折优惠,送手机、送话费,好礼不断!

【问题描述】

订单锁定与解锁是什么意思?


【解释说明】

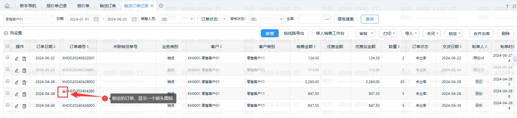
1、订单锁定:销售的订单优先出库,占用库存; 如:如有两个订单,一个订单锁定了,一个订单未锁定,那么在生成销售单时,锁定的订单就会占用库存,保证它可以生成销售出库单(前提:勾选了负库存检查)

2、订单解锁:将锁定的订单进行解锁,取消其优先出库(不再占用库存)的权力。

在单据列表,点击右上角【锁定】,订单被锁定状态:


锁定的数量会影响可用库存:




订单列表,点击【锁定】下拉箭头,然后点击【解锁】解除锁定: